商務部發布大溪地調整的直銷區域
發布: 2015-06-30 14:46:02 作者: 佚名 來源: 商務部網站
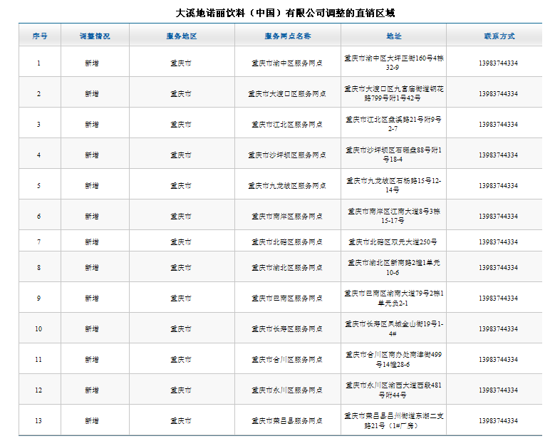
6月24日,商務部發布了大溪地諾麗飲料(中國)有限公司調整的直銷區域

關鍵詞:商務部 大溪地 直銷區域
上一篇:三八婦樂人事巨變:袁曉峰失勢,韓美寧上位 下一篇: 融資盤爆倉砸盤 康美藥業股東加杠桿增持
今日新聞頭條
我也說兩句
| 驗證碼: |
已有評論 0 條 查看全部回復












