假冒央視為傳銷騙局站臺 央視舉報“中央電視臺網”
發布: 2020-10-30 10:10:38 作者: 佚名 來源: 河北網信管理執法
近日,央視網發布關于“中央電視臺網”侵權事宜的嚴正聲明,稱“中央電視臺網”在未經中央電視臺及央視網授權、違反國家相關法律法規的情況下,擅自使用中央電視臺和央視網的商標、標識進行宣傳,屬侵權行為,已向行政主管部門進行了舉報。

聲明全文如下:
“中央電視臺網”(網址主要包括但不限于cctvn.com、cctvn.net、中央電視臺網.網址、cctvn.中國、中央電視臺網.com等)在未經中央電視臺及央視網(央視國際網絡有限公司)授權、違反國家相關法律法規的情況下,擅自使用中央電視臺和央視網的商標、標識進行宣傳,以此誤導公眾并借此招商,發布廣告、視頻、舉辦各種社會活動并謀取非法利益,其上述侵權行為,已給中央電視臺及央視網造成了嚴重的經濟損失及極其惡劣的社會影響。對此,我網嚴正聲明如下:
“中央電視臺網”及其運營主體(熊鷹央網傳媒集團有限公司,原名北京鳳霸央網文化傳媒有限公司)從未得到中央電視臺或央視網授權,“中央電視臺網”及其運營主體與中央電視臺及央視網毫無關聯,其所有行為亦與中央電視臺及央視網無關。鑒于 “中央電視臺網”嚴重的侵權行為,我網已向行政主管部門進行了舉報,并將采取法律手段維護中央電視臺和央視網的合法權利及權益。

請廣大公眾注意鑒別,避免上當受騙,注意維護自身的合法權益免受侵害。
特此聲明
央視網
2020年10月22日
通過檢索相關關鍵詞發現,網絡上存在部分與 “中央電視臺網”有關的宣傳信息,其中也包含為某傳銷騙局站臺的信息。

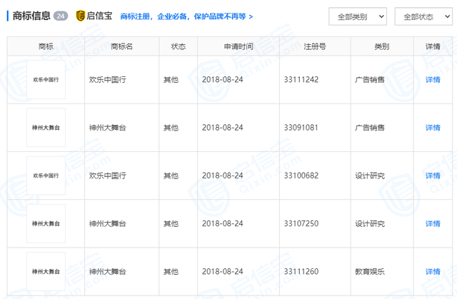
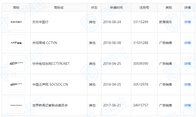
另一方面,啟信寶信息顯示,央視網聲明中提到的熊鷹央網傳媒集團有限公司,成立于2015年4月1日,注冊資本為1.07億元人民幣。


值得注意的是,2017年-2018年,該公司以中央電視臺創辦的節目名為商標名,注冊了一系列商標。


中央電視臺作為國家電視臺,具有權威性和影響力。一些不法分子,以“李鬼”冒充“李逵”打擦邊球,以央視的公信力為“靠山”,冒用央視名義開展所謂的采訪、宣傳、演出、推廣等活動牟利。這種行為既侵犯了央視的權益,又涉嫌違法犯罪。
實際上,假冒央視的案件并不是第一次發生,以下一起近期宣判的案件,正是“掃黃打非”部門查辦的冒用央視名義開展非法活動的典型案例:
全國“掃黃打非”辦公室10月27日透露,近日,河南洛陽市洛龍區人民法院對“6.18假冒央視名義非法活動案”進行了開庭審理,一審判處主犯陳某有期徒刑11年,并處罰金人民幣20萬元;判處另2名被告人李某有期徒刑3年4個月,并處罰金人民幣5萬元,劉某有期徒刑3年6個月,并處罰金人民幣4萬元。
據全國“掃黃打非”辦公室介紹,這起案件是中央電視臺舉報反映“CCTV《愛心中國行》欄目組委會”冒用中央電視臺名義開展活動,涉及北京、四川、山西、河南、廣東、廣西、福建、浙江等省市。

全國“掃黃打非”辦公室表示,2019年7月,洛陽市“掃黃打非”辦、文化市場綜合執法、公安等部門聯合查處一起假冒央視欄目案件,在這起案件中,刑事拘留犯罪嫌疑人4人,凍結涉案資金200余萬元,查扣涉案車輛1臺。
洛陽市“掃黃打非”辦等部門偵查發現,“CCTV《愛心中國行》欄目組委會”冒用中央電視臺名義在多地開展活動。公安機關先后在洛陽、深圳、北京等地抓獲劉某強、史某進、陳某燕、李某旺,繳獲攝像機、偽造公章、委托書、證明函、空白合同等有關物證材料。
進一步偵查查實,陳某燕、劉某強、李某旺等人在北京大興某影視城設立“CCTV《愛心中國行》欄目組委會”,假冒央視欄目,分別以北京總部負責人、制片人兼副總裁、辦公室主任等身份,在多地實施詐騙活動。
新聞“三假”是指“假記者”、“假媒體”、“假記者站”,新聞“三假”活動嚴重干擾基層正常工作,侵害群眾切身利益,敗壞新聞界和新聞工作者形象,擾亂新聞出版傳播秩序。
各級“掃黃打非”部門始終對新聞“三假”給予嚴厲打擊,以維護新聞出版行業傳播秩序。請廣大公眾注意鑒別,避免上當受騙,遇到新聞“三假”活動要向行政主管部門及時舉報。
今日新聞頭條
我也說兩句
已有評論 0 條 查看全部回復








