隆力奇倍萊鮮:從熱門到遇冷,究竟為何?
發布: 2025-07-17 14:17:11 作者: 佚名 來源: 哲里說直事
幾個月前,隆力奇倍萊鮮還是微信朋友圈和線下朋友間的熱門話題,仿佛一夜之間成為了人們口中的 “爆款”。可如今,僅僅過了 5 個月,卻已快無人問津,只剩下幾個經銷商還在編織著各種夸大博文試圖維持熱度。這一現象著實令人深思,究竟是什么原因導致了倍萊鮮如此快速的熱度消退呢?

從曾經的輝煌來看,倍萊鮮并非沒有過人之處。首先,它搭上了羊奶市場的高速列車。在消費升級的大背景下,消費者對健康、營養的追求與日俱增,羊奶以其小分子高吸收、弱堿性特質、溫補特性等優勢,逐漸受到消費者青睞。
其次,倍萊鮮在產品技術上確實有一定的壁壘。它是中國唯一由 “中國山羊奶之父” 曹斌云教授研發的產品,擁有全球領先的發酵型乳酸菌生產工藝,其生產的羊乳粉營養吸收效率遠超同類產品,還擁有全國唯一執行新國標(羊乳固體含量≥75%)等優勢。

倍萊鮮的商業模式引發了爭議。它采用直銷模式,并實行五級三階制,這被許多人質疑。它究竟是新零售模式還是傳銷模式?經銷商以月入十萬的誘惑,吸引親朋好友加入。根據《直銷管理條例》,直銷行業不能以高利潤吸引他人參與。而隆力奇卻聲稱自己是新零售,而非直銷。 這種模糊的定位和誘人的收益承諾,讓倍萊鮮的商業模式備受爭議。它游走在新零售和傳銷之間,讓經銷商和潛在參與者難以分辨。
然而,倍萊鮮如今陷入困境,也有諸多深層次的原因
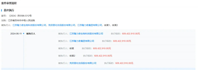
一方面,隆力奇自身的品牌危機對倍萊鮮產生了嚴重的負面影響。近年來,隆力奇深陷債務危機和法律糾紛。2024 年全年其作為被告涉及的司法案件標的總額突破 8 億元,被執行金額超 6 億元,2025 年更是多次成為被執行人,執行標的總額超 2.68 億元。其董事長徐之偉 2023 年因涉嫌非法集資被蘇州警方取保候審,2024 年 12 月又被蘇州中院采取限制高消費措施。這樣的負面消息不斷,讓消費者對隆力奇品牌的信任度大打折扣,自然也會對倍萊鮮產品產生質疑。



另一方面,可能存在營銷模式的隱患。隆力奇自 2009 年獲得直銷牌照后,業務逐漸偏離產品驅動,轉向 “人海戰術”,最終引起整個直銷體系的異化。在倍萊鮮項目中,層級返利等機制設計延續了此前直銷業務中的做法,這種模式容易讓人聯想到傳銷,使得不少消費者和潛在參與者望而卻步。
此外,產品效果的夸大宣傳也可能是導致其失去信任的原因。雖然產品本身有一定的優勢,但經銷商為了推廣產品,可能進行了過度夸大的宣傳,當消費者使用產品后發現實際效果與宣傳不符,就會產生失望和不信任感,進而放棄購買。而且,當熱度過去,消費者回歸理性,對于產品的選擇會更加謹慎,如果沒有持續的品質提升和創新,很難保持長久的吸引力。
從市場競爭角度來看,羊奶市場雖然有很大的潛力,但隨著越來越多的品牌進入,競爭也日益激烈。其他品牌可能在產品品質、價格、營銷等方面推出更具競爭力的策略,分走了原本屬于倍萊鮮的市場份額。
隆力奇倍萊鮮從熱門到遇冷,是多種因素綜合作用的結果。對于隆力奇來說,如果想要讓倍萊鮮重新煥發生機,就需要解決自身的品牌危機,規范營銷模式,注重產品品質的提升和創新,以更加真誠和務實的態度去贏得消費者的信任和市場的認可。
今日新聞頭條
我也說兩句
已有評論 0 條 查看全部回復








